閘閥異常升壓的危害與三大防護措施
前言
閘閥通常有單閘板、雙閘板、楔式、平行式等結構設計,其中楔式雙閘板(Z42、Z62系列)及楔式彈性閘板(Z40、Z60系列)應用最為廣泛,前者關閉時閘板自動吻合兩側閥座,自動補償楔角的加工位置誤差;后者則依靠閘板中部的彈性槽,靠閥桿的軸向推力補償楔角的加工位置誤差,兩者均達到較好的密封效果。正是由于其雙側的優良密封,在某些場合會產生中腔壓力異常升高現象,即當高溫高壓流體(液體或氣體)被封堵于閥門中腔時,若上游側(見圖 1)流體溫度升高,中腔(見圖 1)流體會被熱傳遞同步升高,由于中腔休積無法擴大,封堵中腔流體由冷態變為熱態時,液體可能迅速汽化,導致壓力急劇升高,增高的壓力常常是幾何級數。
?
圖 1 中腔異常升壓說明
閥門超壓工作的后果是十分嚴重的。閥門中腔異常升壓時,其承壓件及啟閉件的工作應力(如閥桿及閘板架的使用應力)均會急劇增加,驅動機構的驅動力會不堪重負,甚至無法啟動,嚴重時閥桿拉斷、閘板架斷裂、電機燒壞,這些現象在許多高壓大口徑閘閥中屢見不鮮,不少用戶常常抱怨這是閘板“咬死”,其實“咬死”的真實原因常常是中腔的異常升壓這一“隱形殺手”。
典型的案例如 Z962Y 系列楔雙閘板閘閥運用于火電廠給水系統及其旁路時,這類閥門一般先在冷態作水壓試驗后關閉,當機組啟動時系統溫度升高到 250~300℃ 時,由于溫度急劇升高,封閉中部的冷態水溫會同步急劇升高汽化,使流體體積增大,壓力升高,此時若要開啟閥門要么驅動力矩足夠大,要么閥桿組件強度足夠高,否則常常出現閥桿斷裂、閘板架斷裂、閘板 T 型槽開花、斷裂,使給水泵無法啟動,導致嚴重的停爐停機事故。
2 異常升壓的危害
異常升壓的形成在許多閘閥的應用場合會驚人相似地發生,因為其發生的兩大要素在許多工業系統是相似的,即系統介質在開機后,由冷態變熱態;閘板在冷態關閉,熱態時開啟。因而若不對系統采取措施,異常升壓對系統的破壞幾乎是無法避免的,其有 3 方面危害:
(1)對閥門本身的破壞
閥門殼體、閥蓋及閥桿零件的強度一般以閥門的公稱壓力設計其強度,異常升壓時,其開啟壓力會成倍提高,導致相關零件的使用應力成倍升高,當材料實際應力超過許用應力時,高應力部位會產生斷裂破壞,導致無法開啟,閥門整機將損壞或報廢。
(2)對系統安全的破壞
顯而易見,殼體、閥蓋等承壓件超壓時是非常危險的,一旦超壓其薄弱部位或許會先發生穿孔,引起介質外漏;其填料及自密封圈部位往往會被高壓流體沖出,引起介質大量外漏。當介質是高溫氣體、有毒氣體、有害氣體時會更加嚴重,甚至會造成設備與人員的傷害。
(3)對生產控制流程造成巨大損失
閥門的正常啟閉是各類工業流程控制的關鍵,一旦這種控制無法實現時,系統癱瘓須停機檢修,這將會造成巨大的直接或間接損失。
3 防護措施
從設計、安裝、調試等方面入手,從根本上消除中腔異常升壓是完全有可能的,歸納常用 3 套方案供廣大用戶參考:
(1)閥門內部開設泄壓孔
解決中腔異常升壓的根本是平衡中腔壓力,開設泄壓孔是最經濟有效的方案,圖 2 所示分別為在上游側閘板及進口側閥座外圓開設了泄壓孔,當中腔壓力升高時,中腔壓力會自動向上游側泄放,始終保持中腔壓力與上游側壓力相等,從而避免異常升壓的發生。

圖 2 閥門內部開設泄壓孔
(2)閥門安裝外旁路泄壓
對已出廠的閥門可采用安裝時外旁路及外設泄壓閥降低中腔壓力,如圖 3 所示。

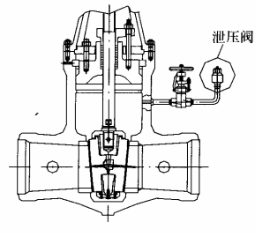
圖 3 閥門安裝外旁路泄壓
采用外設帶截止閥的旁路聯通中腔與上游側,當主閘板關閉后截止閥可關閉(視中腔溫度變化情況,過高時須開啟)。當開啟主閘閥時,應先行開啟旁路截止閥,降低中腔壓力后再啟動主閘閥。
(3)閥門外部安裝專用泄壓閥

圖 4 閥門安裝專用泄壓閥
圖 4 所示為在閘閥中腔外設泄壓閥控制壓力范圍,設定泄壓閥的排放壓力為主閥門的額定工作壓力,當中腔超壓時,自動排放到設定壓力,從而維護主閘閥的安全運行。

圖 5 泄壓閥的結構設計
圖 5 為泄壓閥的結構設計圖(可供參考)。泄壓閥前安裝了截止閥,便于泄壓閥的調整與檢修。泄壓閥的壓力設定通??砂?1.33PN 考慮(PN 為系統閥門的公稱應力)。
除此之外,閥門調試時,尤其是電動閥調試時,應注意關閉行程及力矩的控制,盡可能將關閉力矩調小些,防止楔死閘板;高溫閥門應考慮高溫狀態閥桿熱脹引起的閘板楔死,建議高溫高壓大口徑閘閥調試時,閘板到位后適當后退閥桿,避免真正咬死事故的發生。
4 結語
異常超壓是雙閥座類閘閥的隱形殺手,嚴重威脅著設備及系統的安全運行,必須引起重視;閘閥,尤其是高溫、高壓、大口徑閘閥設計安裝時必須考慮異常超壓的發生,并采取必要的預防措施。